PIERŚCIENIE ZGARNIAJĄCE TYPU ZZ

Specjalistyczne uszczelnienia wałowe, których głównym zadaniem jest odprowadzanie zanieczyszczeń, kurzu, pyłu i nadmiaru medium z powierzchni wału oraz ochrona pierścieni uszczelniających przed przedwczesnym zużyciem. Dzięki nim zwiększa się niezawodność układów hydraulicznych i mechanicznych pracujących w trudnych warunkach.


Zastosowania
Zgarniacze typu ZZ znajdują zastosowanie wszędzie tam, gdzie wymagana jest ochrona uszczelnień wałowych przed zanieczyszczeniami:
-
siłowniki hydrauliczne i pneumatyczne,
-
maszyny budowlane i rolnicze,
-
przekładnie mechaniczne narażone na kurz i pył,
-
układy przenoszenia napędu i wały obrotowe w trudnych warunkach pracy.

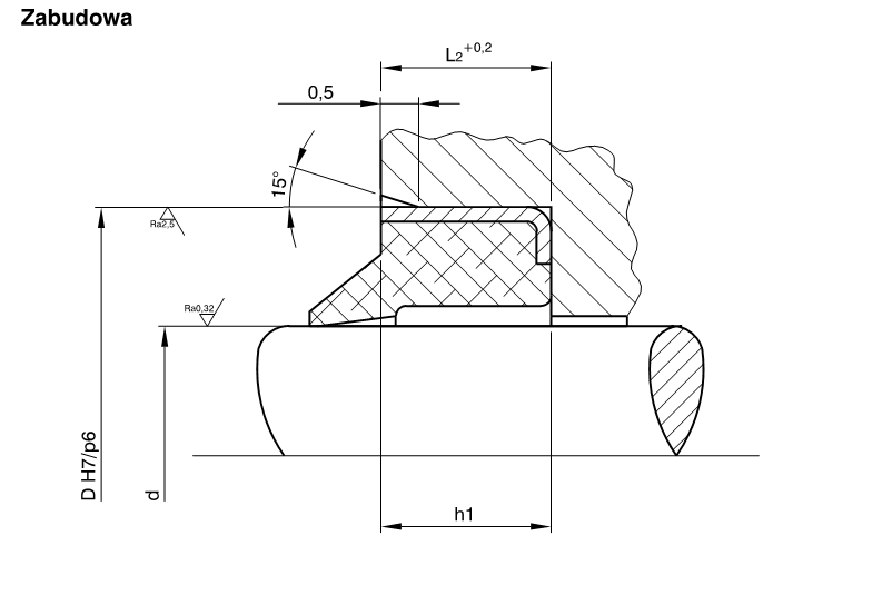
WYMIARY


Zalety pierścieni zgarniających typu ZZ

-
ochrona uszczelnień wałowych przed zanieczyszczeniami,
-
wydłużenie żywotności O-ringów i simeringów,
-
kompensacja nierówności i drgań wału,
-
prosta konstrukcja i łatwy montaż,
-
szeroka gama wymiarów i materiałów do różnych zastosowań.
